| № | Наименование | Примечание | Кол-во |
|---|---|---|---|
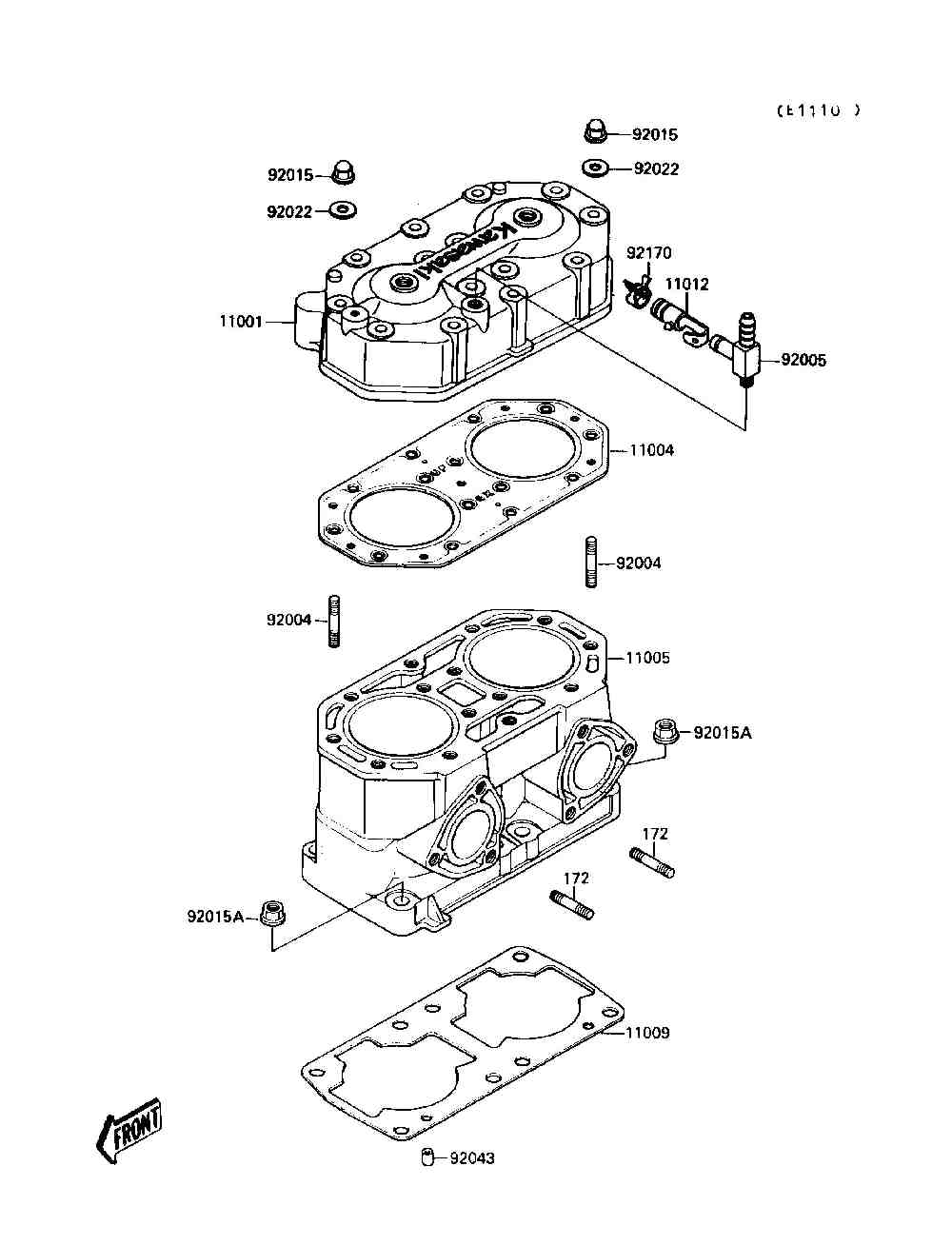
| 172 | BOLT-STUD | 6 | |
| 11001 | HEAD-CYLINDER | 1 | |
| 11004 | GASKET-HEAD | 1 | |
| 11005 | CYLINDER-ENGINE | 1 | |
| 11009 | GASKETCYLINDER BASE | 1 | |
| 11012 | CAP | 1 | |
| 92004 | STUD8X43 | 14 | |
| 92005 | FITTING | 1 | |
| 92015 | NUTCAP8MM | 14 | |
| 92015A | NUT10MM | 8 | |
| 92022 | WASHER | 14 | |
| 92043 | PIN-DOWEL | 2 | |
| 92170 | CLAMP | 1 |
