| № | Наименование | Примечание | Кол-во |
|---|---|---|---|
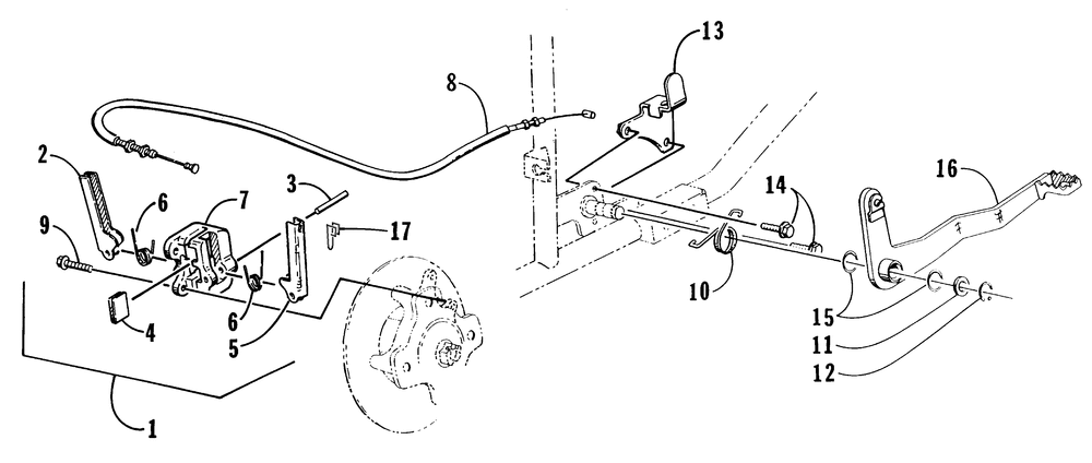
| 1 | CALIPERBRAKE-MECHANICAL (inc. 8) | 1 | |
| 4 | PADBRAKE-MECH PARK (2 per pack) | 2 | |
| 8 | CABLEBRAKE RR | 1 | |
| 9 | SCREWCAP-HFH M8X1.25X25 CL8.8 Z&Y | 2 | |
| 10 | SPRINGFOOTBRAKE-BLACK | 1 | |
| 11 | WASHERBRAKE LVR | 1 | |
| 12 | SNAP RINGEXTL-5/8 DIA (3 per pack) | 1 | |
| 13 | BRKT BRAKE SWITCH-BLACK | 1 | |
| 14 | SCREWMACH-TSTRH M6X1.0X16 Z&Y (5 per pack) | 2 | |
| 15 | O-RING 5/8 X 13/16 OD (5 per pack) | 2 | |
| 16 | LEVERFOOT BRAKE-BLACK-REAMED | 1 | |
| 17 | WIRE FORMCABLE | 1 |
