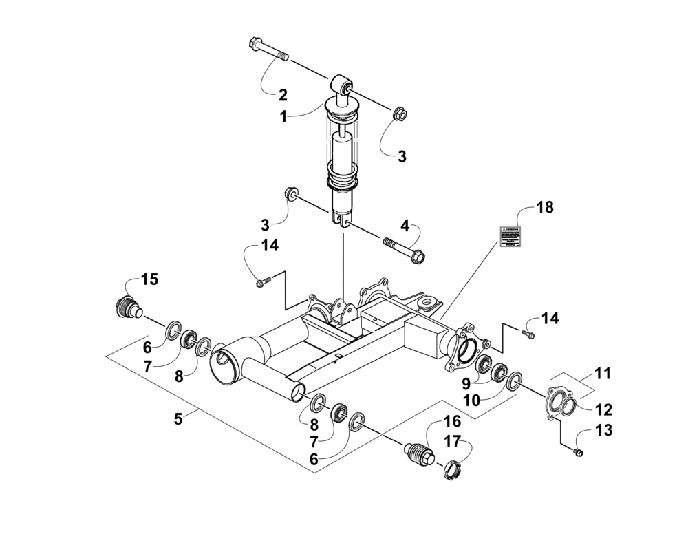
| № | Наименование | Примечание | Кол-во |
|---|---|---|---|
| 1 | CUSHION ASSY RR (BLACK) | 1 | |
| 2 | BOLT FLANGE 10*57 (5 per pack) | 1 | |
| 3 | NUT U 10MM (5 per pack) | 2 | |
| 4 | BOLT FLANGE 10*53 (5 per pack) | 1 | |
| 5 | FORK ASSY RR (inc. 6-10) | 1 | |
| 6 | DUST SEAL 26*40*5 (2 per pack) | 2 | |
| 7 | BEARING BALL RADIAL 30203 | 2 | |
| 8 | HOLDER GREASE | 2 | |
| 9 | BEARING BALL RADIAL 6006 | 2 | |
| 10 | O-RING 58.4*3 (2 per pack) | 1 | |
| 11 | STOPPER ASSY RR (inc. 12) | 1 | |
| 12 | OIL SEAL | 1 | |
| 13 | BOLT FLANGE 8*12 (2 per pack) | 3 | |
| 14 | BOLT FLANGE 10*25 (2 per pack) | 8 | |
| 15 | FORK PIVOT BOLT RH | 1 | |
| 16 | FORK PIVOT BOLT LH | 1 | |
| 17 | FORK PIVOT NUT LOCK | 1 | |
| 18 | DECAL WARNING-TOWING (500 LB) | 1 |
