| № | Наименование | Примечание | Кол-во |
|---|---|---|---|
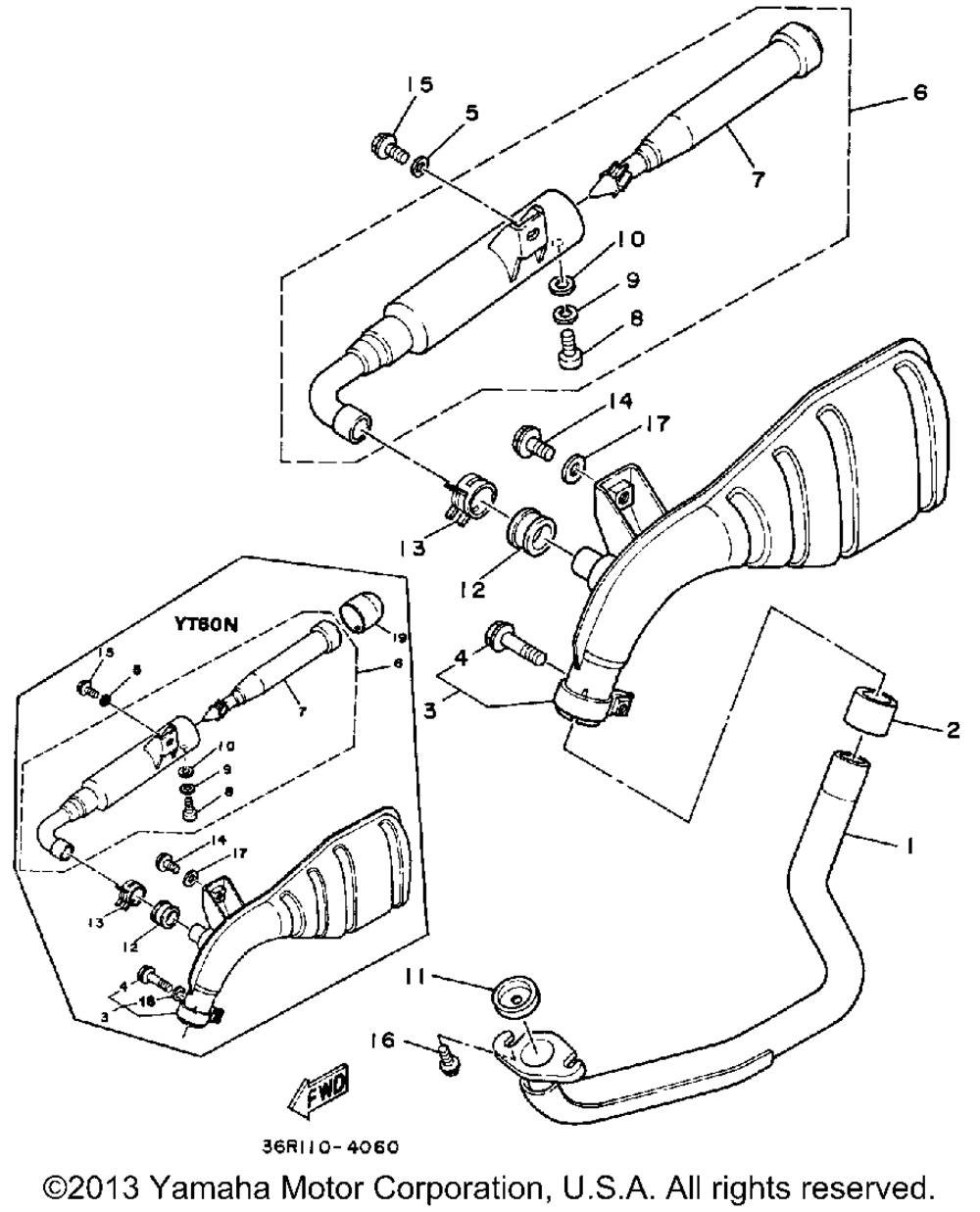
| 1 | PIPEEXHAUST L | 1 | |
| 2 | GASKET MUFFLER | 1 | |
| 3 | MUFFLER 1 (36R-14711-00) | 1 | |
| 4 | BOLTFLANGE | 1 | |
| 5 | WASHERPLATE | 1 | |
| 6 | SILENCEREXHAUST | 1 | |
| 7 | PIPEOUTLET | 1 | |
| 8 | SCREW PAN HEAD | 1 | |
| 9 | WASHER (5 per pack) | 1 | |
| 10 | WASHERPLATE | 1 | |
| 11 | GASKETEXST PIPE U.R. | 1 | |
| 11 | GASKETEXST PIPE (RESTRICTED) | 1 | |
| 12 | GASKETMUFFLER | 1 | |
| 13 | CLIPSCISSOR | 1 | |
| 14 | BOLTFLANGE (JN5) | 2 | |
| 15 | BOLTFLANGE | 1 | |
| 16 | SCREWHEXAGON (5 per pack) | 2 | |
| 17 | WASHER PLATE | 2 | |
| 18 | WASHER (5 per pack) | 1 | |
| 19 | CAPSILENCER | 1 |
