| № | Наименование | Примечание | Кол-во |
|---|---|---|---|
| - | PH 50 4S 4CYL | 1 | |
| - | GASKET SET | 1 | |
| - | PH 40/50 4CYL 4S | 1 | |
| - | HEAD KIT-CYLINDER | 1 | |
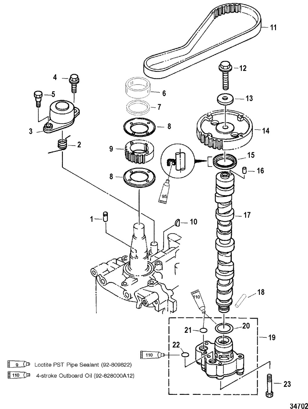
| 1 | PIN | 1 | |
| 2 | SPRING | 1 | |
| 3 | TENSIONER ASSY | 1 | |
| 4 | SCREW | 1 | |
| 5 | SCREW | 1 | |
| 6 | SPACER S/N-0G438000 & UP | 1 | |
| 7 | LOAD RING | 1 | |
| 8 | WASHER | 2 | |
| 9 | PULLEY | 1 | |
| 10 | KEY @2 (2 per pack) | 1 | |
| 11 | BELT-TIMING | 1 | |
| 12 | SCREW | 1 | |
| 13 | WASHER @3 (3 per pack) | 1 | |
| 14 | PULLEY | 1 | |
| 15 | SEAL | 1 | |
| 16 | PIN-DOWEL | 1 | |
| 17 | CAMSHAFT | 1 | |
| 18 | PIN-DOWEL | 1 | |
| 19 | PUMP ASSY-OIL | 1 | |
| 20 | O RING | 1 | |
| 21 | O RING | 1 | |
| 22 | O RING | 1 | |
| 23 | SCREW @5 (5 per pack) | 4 |
