| № | Наименование | Примечание | Кол-во |
|---|---|---|---|
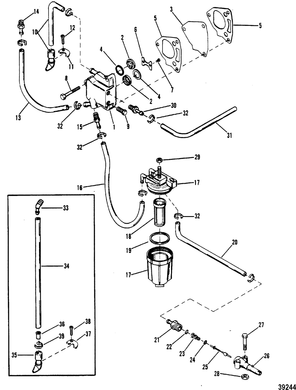
| - | GASKET SET | 1 | |
| 1 | FUEL PUMP ASSY | 1 | |
| 2 | CHECK VALVE KIT | 1 | |
| 3 | DIAPHRAGM KIT | 1 | |
| 6 | RETAINER | 1 | |
| 7 | SCREW | 2 | |
| 8 | SCREW | 3 | |
| 9 | PLUG-(BRASS)@2 (2 per pack) | 1 | |
| 10 | NOZZLE ASSY -- PART OF A-2139-5351A2 BOTTOM OF COWL ASS'Y UNITED STATES 3859435 AND UP AUSTRALIA 8016690 AND UP BELGIUM 9051459 AND UP CANADA 7032138 AND UP | 1 | |
| 11 | CLAMP | 1 | |
| 12 | SCREW @2 (2 per pack) | 1 | |
| 13 | HOSE-57 INCH | 1 | |
| 14 | FITTING | 1 | |
| 15 | FITTING | 1 | |
| 16 | HOSE-57 INCH | 1 | |
| 17 | FILTER KIT-FUEL | 1 | |
| 18 | FILTER-FUEL @2 (2 per pack) | 1 | |
| 19 | SEAL-FILTER @10 (10 per pack) | 1 | |
| 21 | FITTING @2 (2 per pack) | 1 | |
| 22 | WASHER-CUP @3 (3 per pack) | 1 | |
| 23 | SPRING | 1 | |
| 24 | O RING @2 (2 per pack) | 1 | |
| 25 | STEM | 1 | |
| 26 | ADAPTOR | 1 | |
| 27 | SCREW @5 (5 per pack) | 2 | |
| 28 | NUT @5 (5 per pack) | 2 | |
| 29 | NUT | 1 | |
| 32 | CLAMP @5 (5 per pack) | 8 | |
| 33 | ELBOW | 1 | |
| 34 | LINE-WATER-15 IN | 1 | |
| 35 | NOZZLE | 1 | |
| 36 | BUSHING | 1 | |
| 39 | TIE STRAP @5 (5 per pack) | 1 |
