| № | Наименование | Примечание | Кол-во |
|---|---|---|---|
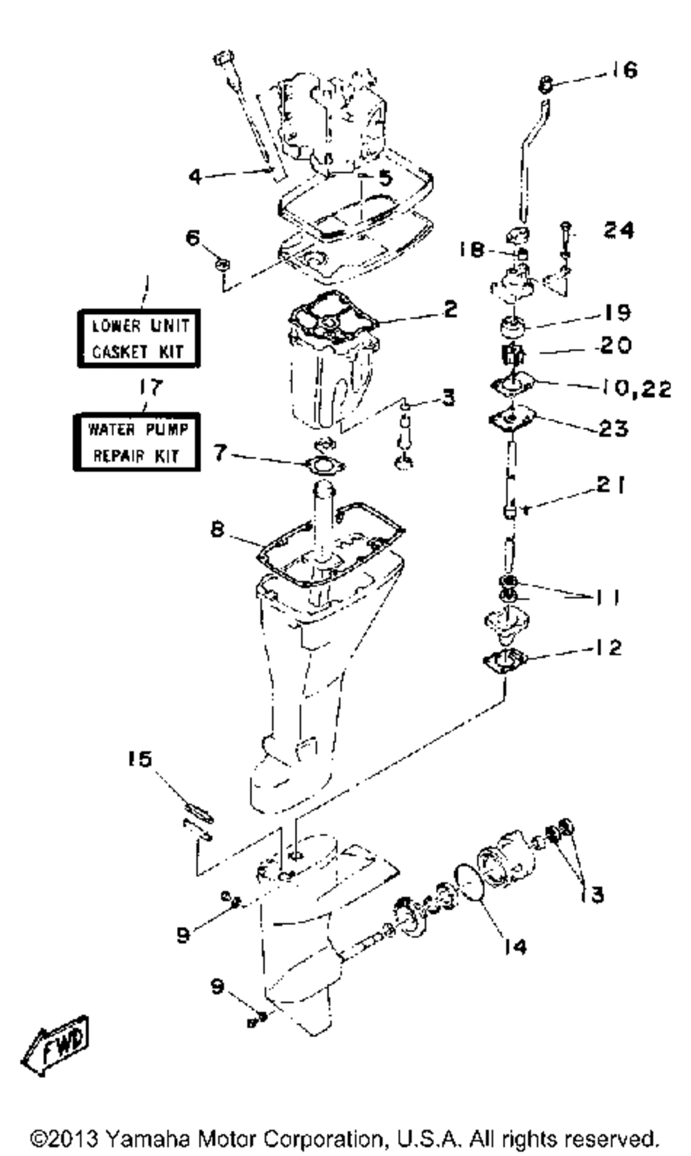
| 1 | GSKT KT | 1 | |
| 2 | GASKETOIL PAN | 1 | |
| 3 | O-RING (5 per pack) | 1 | |
| 4 | O-RING (5 per pack) | 1 | |
| 5 | O-RING (5 per pack) | 1 | |
| 6 | OIL SEAL S-TYPE | 1 | |
| 7 | GASKETEXH MANI 1 (5 per pack) | 1 | |
| 8 | GASKETUPPER CASIN | 1 | |
| 9 | GASKET (USA) | 3 | |
| 10 | GASKETWATER PUMP | 2 | |
| 11 | OIL SEALS-TYPE | 2 | |
| 12 | PACKINGLOWER CASE | 1 | |
| 13 | . .OIL SEAL | 2 | |
| 14 | O-RING | 1 | |
| 15 | SEALRUBBER | 1 | |
| 16 | WATER SEAL | 1 | |
| 17 | WATER PUMP REP KIT | 1 | |
| 18 | WATER SEAL | 1 | |
| 19 | INSERT CARTRIDGE | 1 | |
| 20 | IMPELLER | 1 | |
| 21 | KEYWOODRUFF | 1 | |
| 23 | OUTER PLATECART. | 1 | |
| 24 | BOLT (682) (5 per pack) | 4 |
