| № | Наименование | Примечание | Кол-во |
|---|---|---|---|
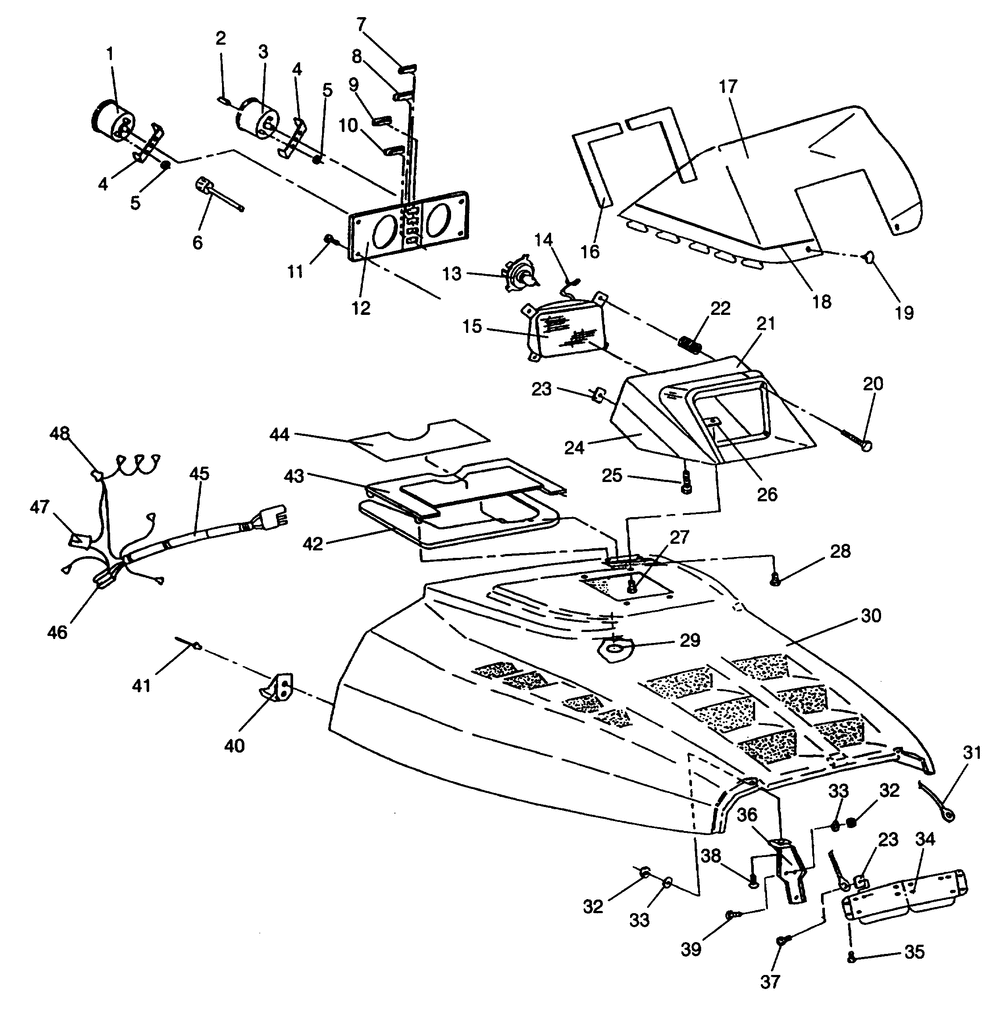
| 2 | KNOBTRIP ODOMETERLH THD. | 1 | |
| 3 | SPEEDOMETER (Incl. 4 5) | 1 | |
| 5 | WASHERSPLIT LOCK | 4 | |
| 5 | NUT | 4 | |
| 6 | CABLESPEEDO. | 1 | |
| 7 | INDICATOR'TEMP'WARN. | 1 | |
| 8 | INDICATOR'OIL/BRK'WARN. | 1 | |
| 9 | INDICATOR'HI-BEAM'WARN. | 1 | |
| 11 | SCREWSCKT.HD.CAP | 6 | |
| 13 | BULBQUARTZ.H/L H460/55W | 1 | |
| 14 | RETAINERH/L BULB | 1 | |
| 16 | PADW/SRHBLACK | 1 | |
| 19 | RIVETPLASTI-LOCK(50) * (50 per pack) | 2 | |
| 20 | SCR-M5X.8X50MM | 4 | |
| 22 | SPRING-ADJ | 4 | |
| 23 | NUT SPEED | 10 | |
| 26 | NUT SPEED(10) * (10 per pack) | 4 | |
| 27 | SCREW SEMS | 4 | |
| 28 | SCREW(10) (10 per pack) | 4 | |
| 29 | RETAINERWINDSHIELD(10) * (10 per pack) | 8 | |
| 31 | CABLEHD.RETAINER | 1 | |
| 32 | NUT-NYLOK(10) (10 per pack) | 8 | |
| 33 | WASHERWROUGHT | 8 | |
| 34 | PLATERE-INF.(HD.) | 1 | |
| 35 | SCREW | 12 | |
| 37 | SCREW | 2 | |
| 38 | BOLT-CARRIAGE [700 IQ][600/700 IQ Dragon] | 2 | |
| 39 | BOLTCARRIAGE | 6 | |
| 40 | CUP HOOD LATCH(10) (10 per pack) | 2 | |
| 41 | RIVET(50) (50 per pack) | 4 | |
| 47 | HOUSING | 1 |
