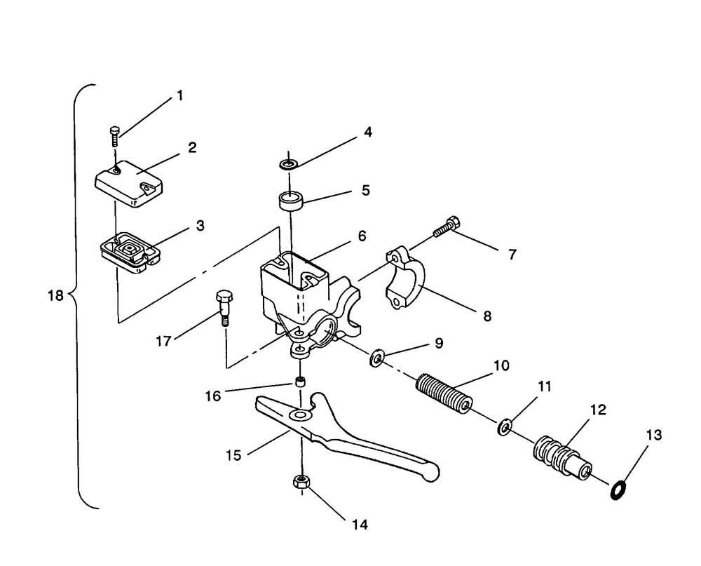
MASTER CYLINDER ASSEMBLY Storm / 0932770 and Storm SKS / 0932570 (4923032303010A)

Корзина пуста