| № | Наименование | Примечание | Кол-во |
|---|---|---|---|
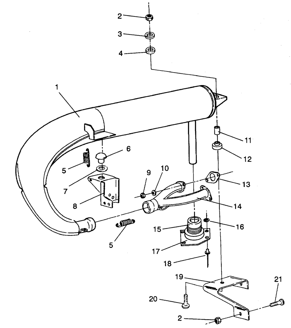
| 2 | NUT-NYLOK(10) (10 per pack) | 3 | |
| 3 | WASHER(10) (10 per pack) | 1 | |
| 4 | WASHERRUBBER (10) (10 per pack) | 1 | |
| 5 | SPRING(10) (10 per pack) | 3 | |
| 6 | DAMPNER VIB. | 1 | |
| 7 | WASHER THRUST | 0 | |
| 9 | NUT | 4 | |
| 10 | WASHER SPRING LOCK | 4 | |
| 11 | BUSHING | 1 | |
| 12 | DAMPENER-VIBRATION | 1 | |
| 15 | BOOT EXHAUST | 1 | |
| 18 | RIVETPOP(50)* (50 per pack) | 4 | |
| 20 | BOLT-CARRIAGE | 1 | |
| 21 | BOLTCARRIAGE | 2 |
