| № | Наименование | Примечание | Кол-во |
|---|---|---|---|
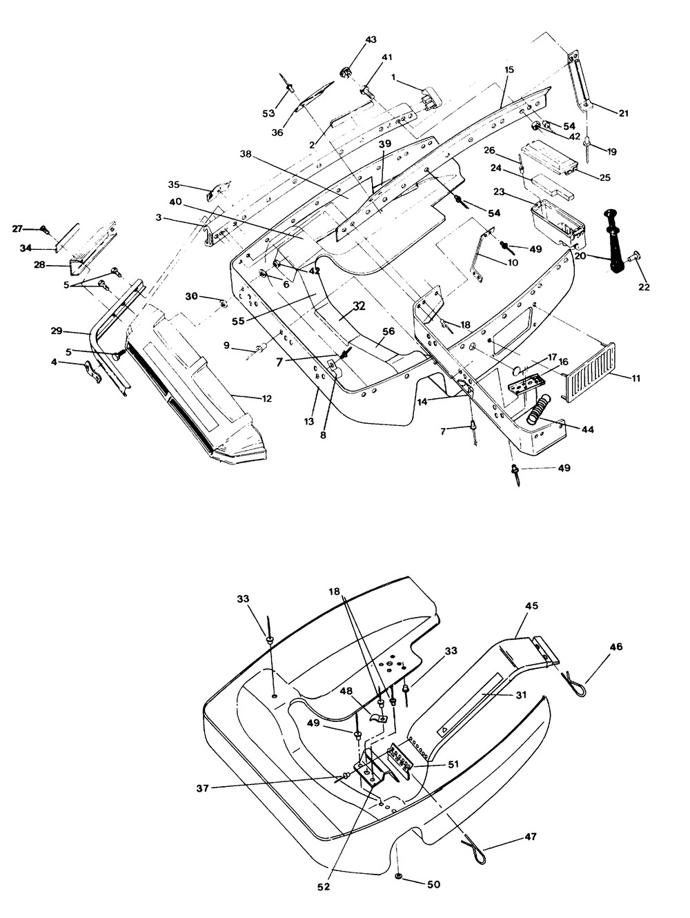
| 1 | CAPBUMPERRH | 1 | |
| 2 | REFLECTOR AMBER | 2 | |
| 5 | SCREW(10) * (10 per pack) | 8 | |
| 6 | WASHER FLAT(10) * (10 per pack) | 5 | |
| 7 | RIVETINTERLOCKZ(50) * (50 per pack) | 4 | |
| 9 | BLIND RIVET(50) (50 per pack) | 2 | |
| 10 | BRACEPAN CORNER | 2 | |
| 14 | BRACE HINGE | 1 | |
| 15 | GUIDE-HOOD LH | 1 | |
| 15 | GUIDEHOOD RH | 1 | |
| 16 | BRACE PAN | 1 | |
| 17 | PLUG (10) (10 per pack) | 1 | |
| 18 | RIVETPOP(10) (10 per pack) | 16 | |
| 19 | RIVET3/16X.402(50) (50 per pack) | 4 | |
| 20 | STRAP HOOD LATCH | 2 | |
| 21 | BRACEPANLH | 1 | |
| 21 | BRACEPANRH | 1 | |
| 22 | ASM-RIVET/RETAINER (50) (50 per pack) | 2 | |
| 23 | BOX-TOOL | 1 | |
| 25 | COVERTOOL BOX | 1 | |
| 26 | RIVET(50) (50 per pack) | 4 | |
| 27 | SCREW | 4 | |
| 28 | CAP BUMPER BLK. | 2 | |
| 29 | BUMPERFR.LWBLACK | 1 | |
| 30 | CAP TOWER | 5 | |
| 32 | TAPEFOILPANtahos_5 | 1 | |
| 37 | RIVET POP(50) (50 per pack) | 12 | |
| 38 | TAPEFOILPANtahos_7 | 1 | |
| 39 | FOIL TAPE | 1 | |
| 40 | FOILTAPEtahos_6 | 1 | |
| 42 | NUT-NYLOK(10) (10 per pack) | 7 | |
| 43 | PLUG HOLE | 2 | |
| 44 | SPRINGHOOD CABLE | 1 | |
| 46 | PINCLUTCH GUARD | 1 | |
| 47 | PIN | 1 | |
| 49 | RIVET(50) (50 per pack) | 2 | |
| 50 | WASHER13/64X1/2X18GAFL-Y (10) (10 per pack) | 6 | |
| 51 | HINGE (Touring) | 2 | |
| 53 | RIVET(10) (10 per pack) | 4 | |
| 56 | TAPEFOILPANtahos_4 | 1 |
