| № | Наименование | Примечание | Кол-во |
|---|---|---|---|
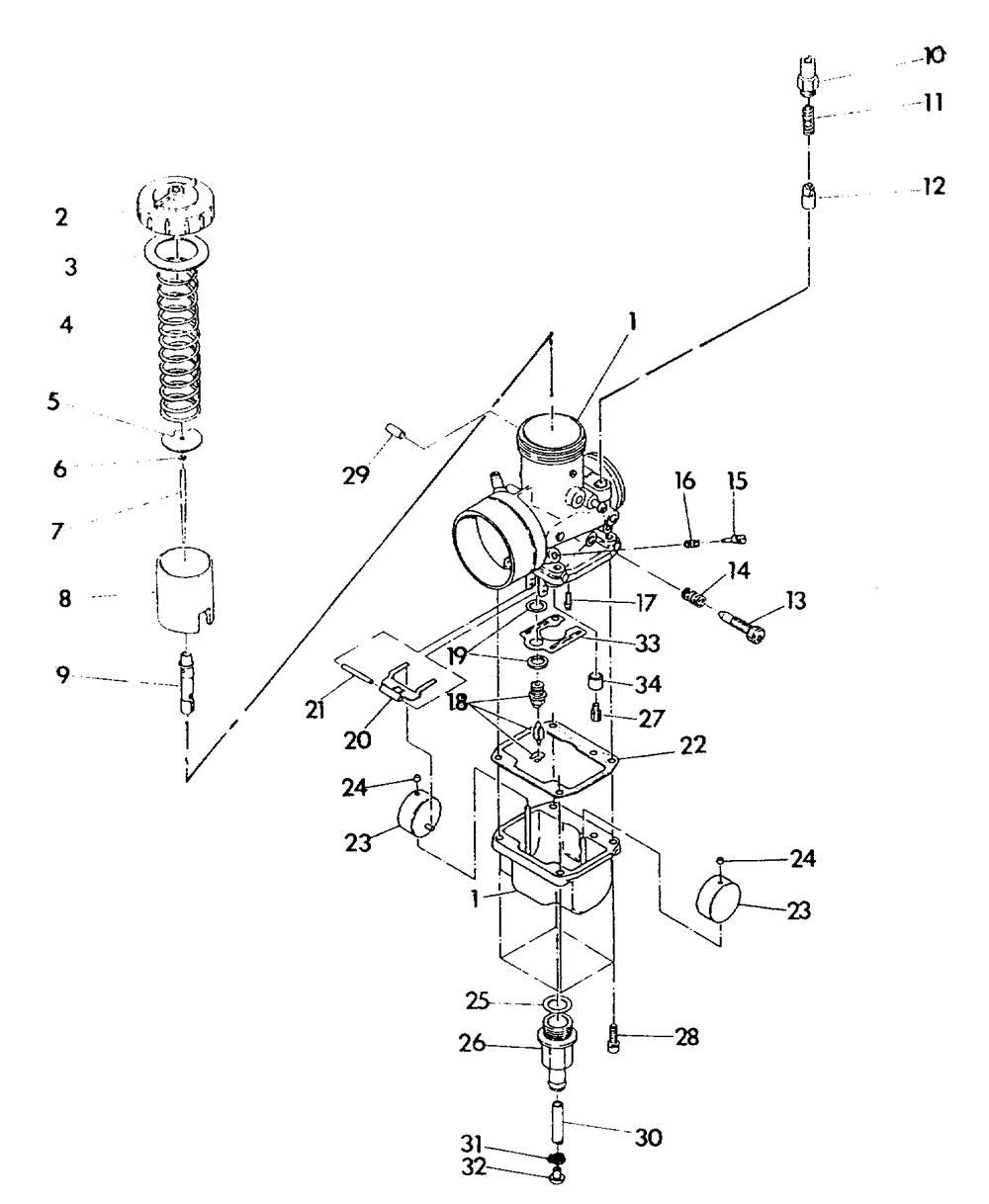
| 2 | ASM.TOP MIXING CHAMBER | 1 | |
| 4 | SPRINGTHROTTLE | 1 | |
| 5 | PLATE THROTTLE | 1 | |
| 6 | E-RING(10) (10 per pack) | 1 | |
| 7 | NEEDLEJET(6F9-3) (6F9-3) | 1 | |
| 8 | VALVE THROTTLE2.5 (2.5) | 1 | |
| 10 | HOLDERGUIDE | 1 | |
| 11 | SPRINGPLUNGER | 1 | |
| 12 | ASM.PLUNGER | 1 | |
| 13 | SCREWTHROTTLE STOP | 1 | |
| 14 | SPRING | 1 | |
| 15 | SCREWAIR | 1 | |
| 16 | SPRINGAIR ADJUST | 1 | |
| 17 | JETPILOTtahos_40(10) (10 per pack) | 1 | |
| 18 | VALVE ASMNEEDLE (1.5) | 1 | |
| 19 | PACKING NEEDLE VALVE(10) (10 per pack) | 1 | |
| 20 | ARMFLOAT | 1 | |
| 21 | PIN FLOAT | 1 | |
| 22 | GASKETFLOAT CHAMBER | 1 | |
| 23 | ASM.FLOAT | 2 | |
| 24 | CAP(10) (10 per pack) | 2 | |
| 25 | O RING | 1 | |
| 26 | FITTINGSEDIMENT | 1 | |
| 27 | JETMAINHX.HDtahos_270(10) [Mag] (10 per pack) | 1 | |
| 28 | SCREW | 4 | |
| 29 | CAPVACUUM FIT | 1 | |
| 30 | LINEFUEL1/4 ID(1525 CM.) | 1 | |
| 31 | CLAMP-HOSE | 2 | |
| 32 | PLUGTRAP | 1 | |
| 34 | RINGCARB | 1 |
