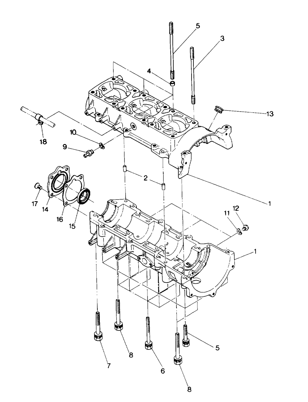
CRANKCASE 650 (4915411541033A)

Корзина пуста
Наименование Примечание Кол-во
2 PINDOWEL 2
5 SUBSTITUTED BY 9999999 8
6 BOLT-WASHER 8
10 WASHER WAVE 1
12 PLUG 3
13 GROMMET 1
16 GASKET 1
18 ASM.CLAMP 1