| № | Наименование | Примечание | Кол-во |
|---|---|---|---|
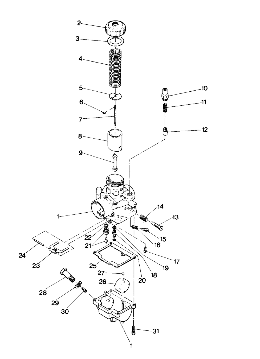
| 2 | TOPMIX CHAMBER [Incl. Gasket] | 1 | |
| 5 | PLATETHROTTLE | 1 | |
| 6 | E-RING(10) (10 per pack) | 1 | |
| 7 | JET NEEDLE (5DP7-2) | 1 | |
| 11 | SPRINGPLUNGER | 1 | |
| 12 | ASM.PLUNGER | 1 | |
| 13 | SCREWTHROTTLE STOP | 1 | |
| 14 | SPRING | 1 | |
| 16 | SPRINGAIR ADJUST | 1 | |
| 17 | JETPILOTtahos_35(10) (10 per pack) | 1 | |
| 19 | WASHER (10) (10 per pack) | 1 | |
| 21 | VALVENEEDLE1.5 (1.5) | 1 | |
| 22 | PACKING NEEDLE VALVE(10) (10 per pack) | 1 | |
| 23 | ARMFLOAT | 1 | |
| 24 | PINFLOAT | 1 | |
| 25 | GASKETFLOAT CHAMBER | 1 | |
| 26 | ASM.FLOAT | 2 | |
| 27 | CAP(10) (10 per pack) | 2 | |
| 30 | JETMAINHX.HDtahos_180(10) (tahos_180) (10 per pack) | 1 | |
| 31 | ASM.SCREW & WASHER(10) (10 per pack) | 4 |
