| № | Наименование | Примечание | Кол-во |
|---|---|---|---|
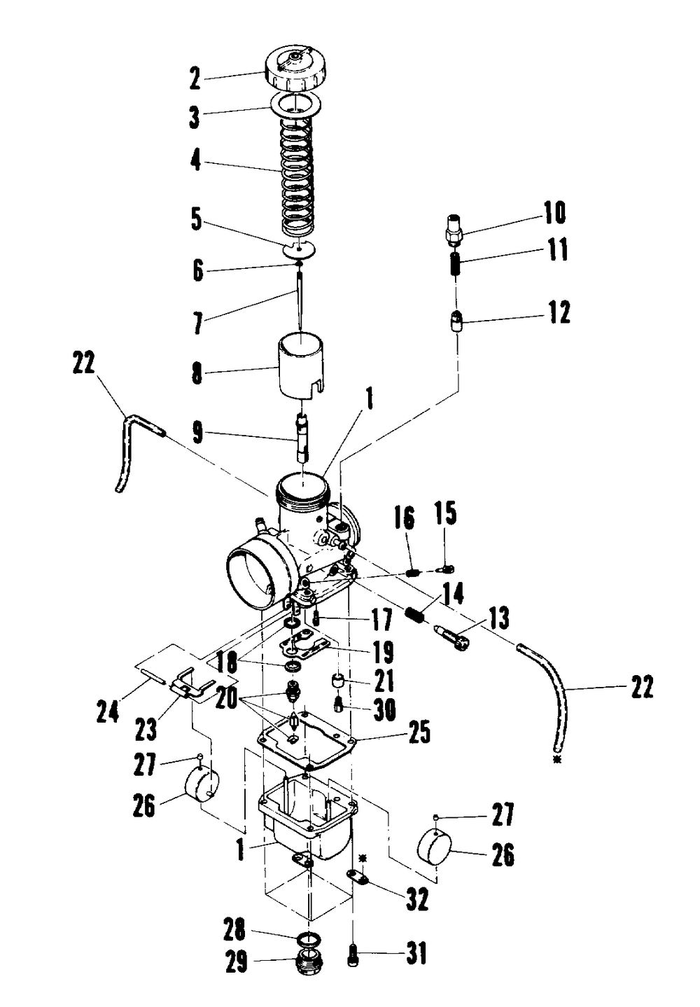
| 4 | SPRINGTHROTTLE | 1 | |
| 5 | PLATE THROTTLE | 1 | |
| 6 | E-RING(10) (10 per pack) | 1 | |
| 10 | HOLDERGUIDE | 1 | |
| 11 | SPRINGPLUNGER | 1 | |
| 12 | ASM.PLUNGER | 1 | |
| 13 | SCREWTHROTTLE STOP | 1 | |
| 14 | SPRING | 1 | |
| 16 | SPRINGAIR ADJUST | 1 | |
| 17 | JETPILOTtahos_35(10) (10 per pack) | 1 | |
| 18 | WASHER(10) (10 per pack) | 2 | |
| 20 | VALVE ASMNEEDLE (1.5) | 1 | |
| 21 | RINGCARB | 1 | |
| 23 | ARMFLOAT | 1 | |
| 24 | PIN FLOAT | 1 | |
| 25 | GASKETFLOAT CHAMBER | 1 | |
| 26 | ASM.FLOAT | 2 | |
| 28 | O RING | 1 | |
| 30 | JETMAINHX.HDtahos_260(10) [PTO] (10 per pack) | 1 | |
| 31 | SCREW | 4 |
