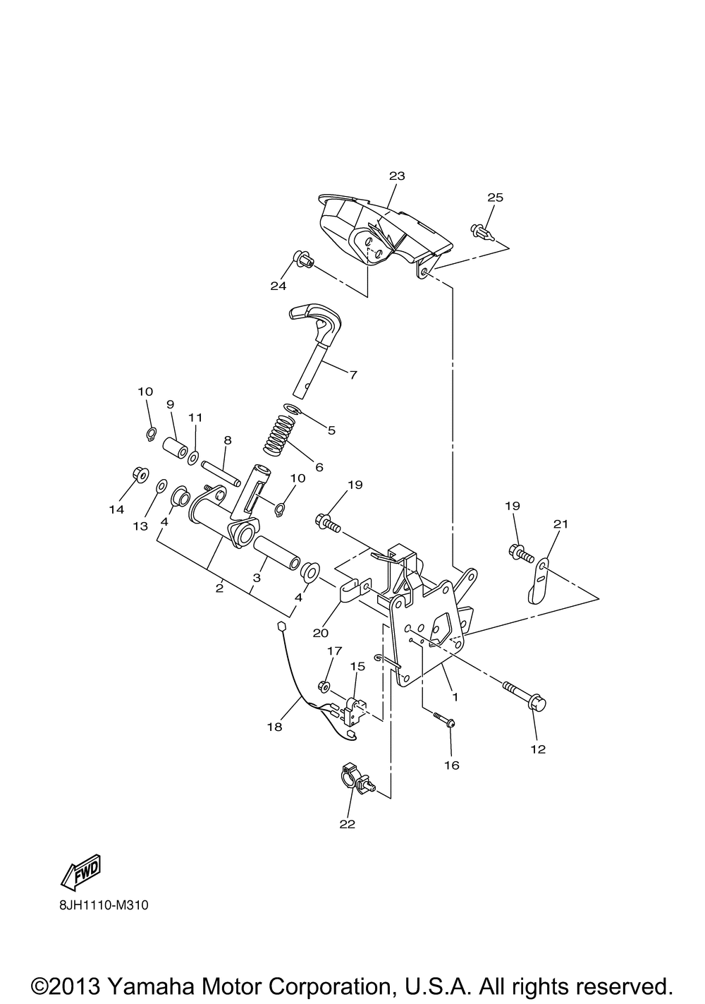
| № | Наименование | Примечание | Кол-во |
|---|---|---|---|
| 1 | GUIDE PLATE STOPPER | 1 | |
| 2 | ARM SHIFT | 1 | |
| 3 | SHAFT 6 | 1 | |
| 4 | BUSHSPEC'L NYLON | 2 | |
| 5 | CIRCLIP | 1 | |
| 6 | SPRING COMPRESSION | 1 | |
| 7 | KNOB SHIFT LEVER | 1 | |
| 8 | PIN (8FA1) | 1 | |
| 9 | COLLAR (8FA1) | 1 | |
| 10 | CIRCLIPS-TYPE | 2 | |
| 11 | WASHERPLATE | 1 | |
| 12 | BOLT FLANGE (JN5) | 1 | |
| 13 | WASHER PLATE | 1 | |
| 14 | NUTU | 1 | |
| 15 | SWITCH NEUTRAL | 1 | |
| 16 | SCREWBINDING | 1 | |
| 17 | NUTU(6E8) | 1 | |
| 18 | WIRE LEAD | 1 | |
| 19 | BOLT FLANGE | 3 | |
| 20 | CLAMP | 1 | |
| 21 | CAP BOLT | 1 | |
| 22 | CLAMP | 1 | |
| 23 | COVER | 1 | |
| 24 | RIVET | 2 | |
| 25 | RIVET | 1 |
